بالصور.. "الباراشوت" وسيلة أمازون الجديدة لتوصيل الطلبات
شركة أمازون قالت إنها ستستخدم طائرات بدون طيار لتوصيل الطلبات قريباً.
قالت شركة أمازون، إنها ستستخدم طائرات بدون طيار لتوصيل الطلبات قريباً.
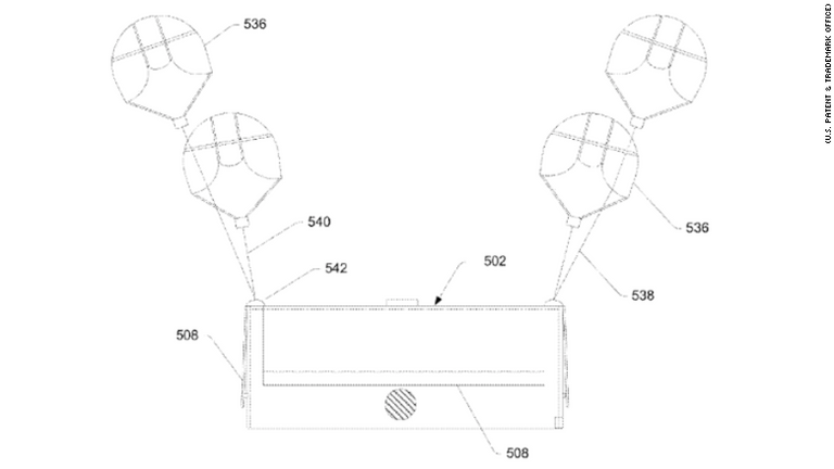
ومنح مكتب الولايات المتحدة لبراءات الاختراع والعلامات التجارية شركة أمازون براءة اختراع لطريقة توجه الطلبات المنطلقة من الطائرات بدون طيار، لتصل إلى الأرض بسلام.
ومنذ أشهر أصدرت الشركة العملاقة المتخصصة في التجارة الإلكترونية لقطات الفيديو الترويجية لطائرات بدون طيار تهبط في الفناء لتضع الطلبات.
وتجري الشركة اختبارات منذ سنوات عديدة، لتحديد أفضل طريقة لتوصيل الطلبات إلى العملاء في المستقبل.
ووفقاً لشبكة "سي إن إن" الأمريكية، تفكر أمازون في إبقاء الطائرات أعلى منازل العملاء، ليكون الأمر أكثر فعالية وأماناً، وأشارت الشركة إلى أن هبوط الطائرة يستغرق وقتاً وطاقة أكثر من قذف الطلبات من السماء. وإذا لم تهبط الطائرات في الفناء سوف يمنع ذلك احتمالية حدوث الاصطدامات الخطيرة بين الطائرات والبشر أو الحيوانات الأليفة أو الأشياء الموجودة في فناء العميل.

تصف براءة الاختراع كيف ستستخدم أمازون المغناطيس أو الباراشوت لإرسال الطلبات، وبمجرد إطلاق الطلبية سوف تراقب الطائرة الصندوق لضمان سقوطه بصورة سليمة في المكان المرجو.

على سبيل المثال، ربما تؤدي الرياح إلى دفع الطلبات إلى إحدى الشرفات أو الأشجار، ولحل هذه المشكلة سوف تبث طائرة أمازون رسالة إلى الطلبية الخارجة عن مسارها موجهة إليها تعليمات لفتح المظلة أو أسطوانة الهواء المضغوط أو رفرف الهبوط.