مقاعد ذكية في سيارة أبل لتنبيه السائق بالاهتزاز عند الطوارئ
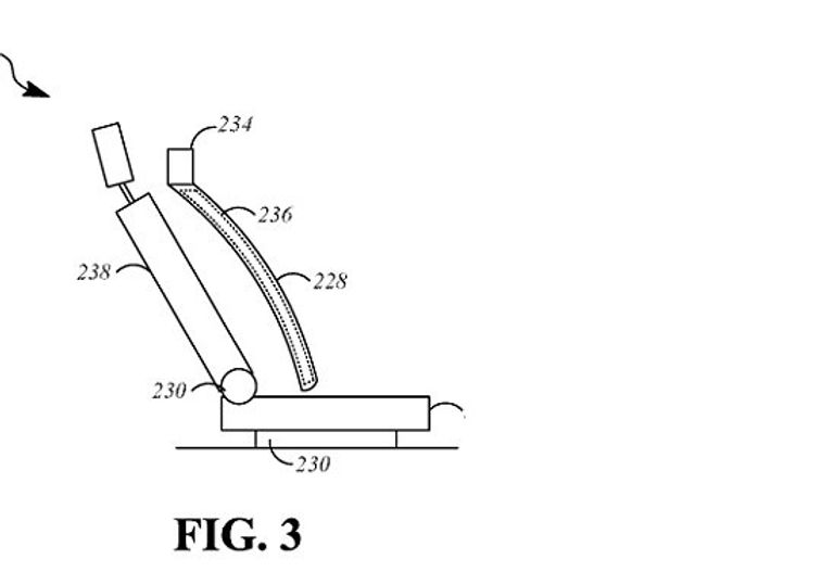
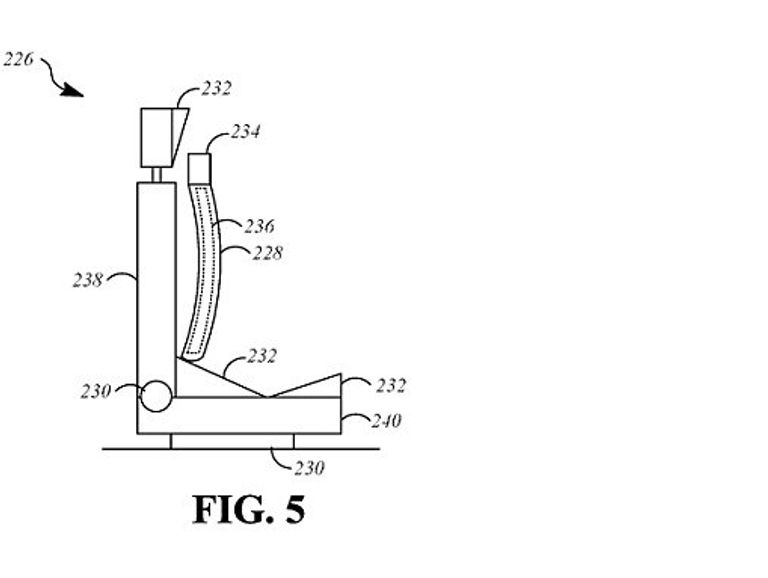
مجموعة من التصميمات المسربة عن شركة أبل Apple، كشفت تخطيط الشركة الأمريكية لصناعة مقاعد ذكية لسياراتها.
تنوي شركة أبل Apple الأمريكية التوسع في مشاريعها لتشمل أسواقاً جديدة، إذ تخطط لإنتاج سيارات بحلول 2025، بحسب ما كشفت عنه تقارير إعلامية.
وتأتي هذه التقارير بعد أنباء عن تشييد أبل Apple لمكتب "سري" في العاصمة الألمانية برلين، متخصص في السيارات وتقنيات النقل، وذلك بالاستعانة بفريق من مهندسي السيارات المتخصصين، وفق موقع "إنترناشونال بزنس تايمز".
وتوقعت مذكرة بحث أجراها المحلل مينغ تشي كو، أن تطرح أبل Apple سياراتها خلال السنوات القليلة المقبلة بعدما كثر الحديث عنها مؤخراً، مشيرة إلى إنها ستكون ذاتية القيادة حسب أغلب التقديرات.
وفي الوقت نفسه، بدأت عدة أفكار في سياق هذا المشروع الطموح من أبل Apple بالظهور، تتعلق بتصميم أبل Apple لمقاعد ذكية لسياراتها المرتقبة، تتمتع بالعديد من الخواص التي ستمنح السائق المزيد من الراحة والأمان.


ووفقاً لما ذكرته صحيفة "ديلي ميل"، فإن مجموعة من التصميمات المسربة عن شركة أبل Apple، كشفت تخطيط الشركة الأمريكية لصناعة مقاعد ذكية لسياراتها قادرة على استشعار قرب الاصطدام، وتنبه السائق لذلك عن طريق الاهتزاز.
وإضافة لذلك، ظهرت تصميمات أخرى تكشف عن نية أبل Apple لصنع سياراتها بأسقف قابلة للإزالة في حالات الطوارئ، مثلما هو الحال بعملية الدفع التلقائي لأسقف كابينة القيادة بالطائرات الحربية.
يأتي ذلك بعد أيام من وصول قيمة أبل Apple السوقية لنحو تريليون دولار، كأول شركة في العالم تبلغ هذا الرقم.
