تكنولوجيا
سامسونج تعلن عن هاتف بكاميرا 360 درجة
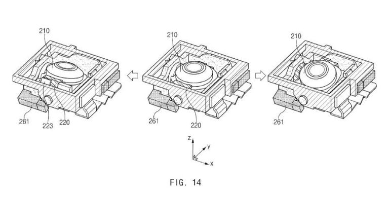
فكرة الكاميرا تتلخص في قدرتها على الدوران بزاوية 360 درجة، ما يتيح استعمالها ككاميرا خلفية وأمامية أيضا
سجلت شركة سامسونج Samsung براءة اختراع هاتف مزود بكاميرا غير مسبوقة تتميز بقدرات وخصائص تقنية نادرة.
ووفقا لما ذكرته الشركة الكورية على موقعها الرسمي، فإن فكرة هذه الكاميرا تتلخص في قدرتها على الدوران بزاوية 360 درجة، مما يتيح استعمالها ككاميرا خلفية وأمامية أيضا.

كما أن الكاميرا مزودة بحساسات متطورة تُمكنها من التحرك بشكل مستقل أثناء التقاط الصور والفيديوهات، لرصد الأجسام الموجودة في اللقطة بدقة كبيرة.
وأشار الخبراء في سامسونج إلى أن هذه الكاميرا تغني عن تزويد الهواتف بكاميرتين، ما يوفر مساحة أكبر في الهاتف تسمح بإضافة تقنيات جديدة غير موجودة في الهواتف الذكية الحالية.
aXA6IDIxNi43My4yMTYuMjE4IA== جزيرة ام اند امز