أولى هدايا "أبل" لمستخدمي آيفون في 2018
شركة أبل أعلنت عن أولى هداياها لمستخدمي هواتف آيفون في 2018، عبر اختراع جديد قامت بتسجيل براءته فعلا.. ما الحكاية؟
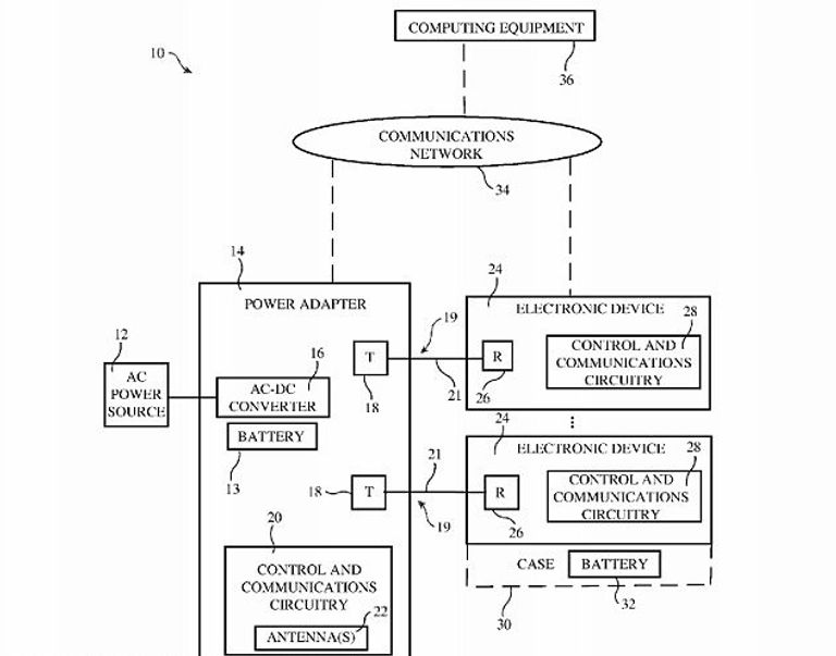
أعلنت شركة أبل تسجيلها لبراءة اختراع لجهاز شحن جديد لأجهزتها الذكية قادر على شحن الهواتف عن بعد.
بحسب صحيفة "ديلي ميل" البريطانية، يعد الإعلان الجديد من أبل بمثابة هدية العام الجديد لعملاء الشركة الأضخم في العالم بمجال الأجهزة الذكية.
وقالت الصحيفة إن جهاز الشحن الجديد سيكون قادرا على شحن أكثر من جهاز في نفس الوقت دون الحاجة لوجود الأجهزة التي يتم شحنها بالقرب من جهاز الشحن الجديد.
وقالت الصحيفة إن هذا الاختراع يعتبر نقلة نوعية بكل المقاييس في مجال الأجهزة الذكية، نظرا للتحدي الكبير الذي واجهته أبل في تطويره وتطويع إمكانية نقل الطاقة عن بعد دون حاجه لقرب الجهازين يبعضهما البعض مثلما هو الوضع في شاحن سامسونج اللاسلكي.
ونشرت صحيفة "ديلي ميل" صورة توضيحية لعملية نقل الطاقة من خلال الجهاز للأجهزة الذكية من حوله عن طريق ربطهم جميعا بشبكة واحدة متصلة.
وسيكون بمقدور الجهاز مد أجهزة مثل الحاسوب النقال والأجهزة اللوحية والهواتف الذكية بالطاقة عن بعد، وتكون آلية عمله حسب الأولوية بمد الطاقة للأجهزة التي بحاجه لها أكثر من غيرها.

aXA6IDIxNi43My4yMTYuMjE4IA==
جزيرة ام اند امز