تكنولوجيا
بالصور.."أبل" تسجل براءة اختراع لسماعات رأس تتحول إلى مكبر صوت
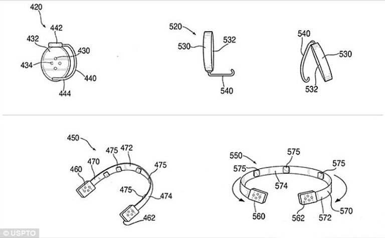
التقنية الجديدة مزودة بجهاز حساس يستشعر وضعية السماعة
حصلت شركة "أبل" الأمريكية للإلكترونيات على براءة اختراع لتكنولوجيا جديدة تحول سماعة الرأس إلى مكبر صوت يدعى "Dual Mode"، حسب صحيفة "ديلي ميل" البريطانية.
ويستطيع المستخدم التبديل بين وضعيتي "مكبر الصوت" و"سماعة الرأس" من نفس المكان، من خلال تدوير غطاء الأذن في السماعة بزاوية قدرها 90 درجة.
وتوضح براءة الإختراع الجديدة من أبل، أنه سماعات "EarPods" و"AirPods" قد يعاد تصميمها لإضافة هذه التقنية الجديدة.
ويبين الاختراع الجديد أن" الجهاز مزود بجهاز حساس يستشعر وضعية السماعة، وإذا كانت في وضعية سماعة رأس، فيكتم الصوت والعكس".



aXA6IDIxNi43My4yMTYuMTUzIA==
جزيرة ام اند امز