ساعة أبل الذكية.. تسريبات تتحدث عن ميزة «استثنائية»
 
                                        سجلت شركة أبل مؤخرًا براءة اختراع لمصباح خارجي مبتكر يمكن دمجه مع تصميم ساعات أبل الذكية في الإصدارات القادمة منها.
ووفق مصادر لمنصات متخصصة بأخبار أبل، هذا التصميم الجديد، يأتي بهدف تحسين تجربة المستخدم وتوفير دعم أفضل، كما تأتي هذه الخطوة في إطار جهود أبل المستمرة لتطوير وتحسين منتجاتها.
وتمتلك ساعات أبل الحالية ميزة تحول شاشتها إلى لون أبيض كامل في ظروف الإضاءة المنخفضة، مما يساعد في تحسين رؤية المستخدم في الظلام.
ومع ظهور تسريبات تتعلق ببراءات اختراع جديدة، يبدو أن أبل تستعد لإضافة مصباح إضاءة خارجي جديد إلى تصميم ساعاتها الذكية.

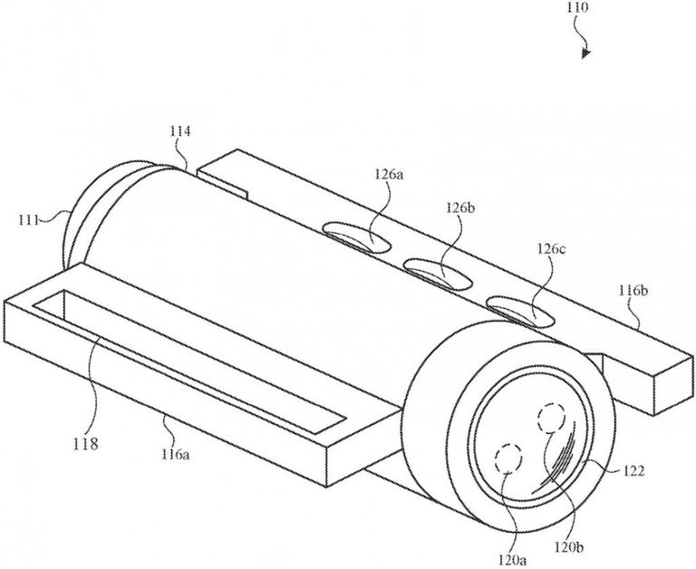
ووفق ما تم تسريبه من لقطات لبراءة الاختراع، فإن التصميم الجديد الشامل للمصباح، ستطرحه أبل باسم "Modular Light"، ويهدف إلى التكامل التام مع هيكل الساعة الذكية وسوار المعصم.
ويظهر مخطط البراءة أن التصميم يسمح بتوجيه الإضاءة بشكل فعال إلى أي اتجاه، ويوفر نطاق إضاءة أوسع وسطوعًا أكبر، مع توقعات باتاحة الاختراع الجديد كميزة زائدة، تتاح مع الساعة بتكلفة إضافية للمستخدمين الراغبين في الاستفادة منه.

ويشير التقرير أيضًا إلى أن الإضاءة الخارجية ستعمل بمصدر طاقة مستقل، مما يمنع تأثيرها على أداء الساعة الذكية، ويجنب استهلاكها لبطارية الساعة عند الاستخدام.
ومن المتوقع أن يتم تجهيز "Modular Light" بمعايير IP لمقاومة الماء والغبار، كما يتيح مخطط البراءة إمكانية فصل الإضاءة عن الساعة الذكية، مما يشير إلى إمكانية استخدام المصباح كملحق مستقل للساعة.
aXA6IDIxNi43My4yMTYuMTI2IA== جزيرة ام اند امز 
                                                            
                                                     
                                                            
                                                     
                                                            
                                                    