سامسونج تطوّر طائرة بدون طيار يمكن التحكم بها بنظرة العين
طائرة سامسونج يمكن أن تتبع مالكها أينما ذهب، كما أنها ستكون مفيدة في عدة مجالات عملية.
أعلنت شركة الهواتف الكورية العملاقة سامسونج، عن بدئها مشروعا جديدا بمجال الطائرات بدون طيار، بابتكارها لطائرة "درونز" يمكن التحكم بها من خلال البصر.
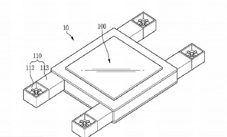
وحسبما ذكرت صحيفة "ديلي ميل"، فإن طائرة سامسونج الجديدة، ستتشكل من شاشة لوحية مربعة في المنتصف، تحملها على الأطراف 4 مروحيات صغيرة.

وقالت الصحيفة إن تصميم الطائرة يعتمد على غلبة الشاشة لمعظم مساحة الطائرة، لما ستحتويه من أجهزة استشعار فائقة الحساسية، تسمح لمستخدم الطائرة بالتحكم بها عن طريق الصوت والنظر بالعين.
وأفادت بأن طائرة سامسونج يمكن أن تتبع مالكها أينما ذهب، كما أنها ستكون مفيدة في عدة مجالات عملية، مثل المتاجر، التي يمكن أن تعمل بها الطائرة كلافتة إعلانية متحركة للمنتجات تتبع الزبائن داخل المتجر.
aXA6IDIxNi43My4yMTYuMTU0IA==
جزيرة ام اند امز