آيفون جديد قابل للطي من "أبل"
شركة أبل بدأت العمل على إنتاج أول هاتف آيفون قابل للطي مثل الكتاب بالتعاون مع شركة "إل جي".
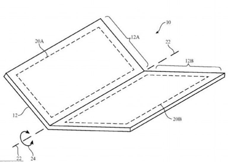
بدأت شركة أبل العمل على إنتاج أول هاتف آيفون قابل للطي مثل الكتاب بالتعاون مع شركة "إل جي".
وحسب صحيفة "ديلي ميل" البريطانية، فإن شركات كبرى مثل "سامسونج" تسعى إلى جانب شركة "أبل" لصناعة جهاز مشابه معروف بكون الهاتف القادر على التحول للوح ذكي أو "تابلت".
ونقلت الصحيفة لقطات مسربة لتصميم هاتف "أبل" المحتمل، أظهرت الشكل المتوقع للهاتف من خلال رسومات مبدئية.

وذكرت "ديلي ميل" أن هاتف أبل القابل للطي سيزود بشاشة MicroOLED وهي تكنولوجيا متطورة للشاشات الذكية لم تستخدم من قبل على أي هاتف ذكي.
وحتى الآن لم يتم الاستقرار على اسم الهاتف وموعد طرحه.
يذكر أن شركة "زد تي إي" الصينية سبقت "أبل" وسامسونج في طرحها لهاتفها الجديد من نوع Axon M، الذي يعد أول هاتف ذكي ثنائي الشاشة وقابلاً للطي.
aXA6IDIxNi43My4yMTYuMjE0IA==
جزيرة ام اند امز