بالصور.. إل جي تبتكر قلمًا ذكيًا
القلم الذكي من إل جي LG يتسم بالمرونة، فبضغطة زر يتم سحب الشاشة بحيث يمكنك استخدامه كهاتف ذكي تقليدي عند الحاجة.
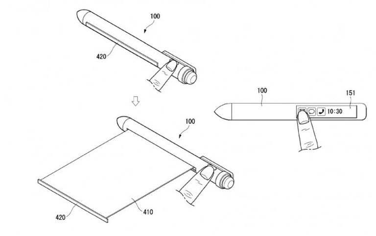
تستعد شركة إل جي LG لتسجيل براءة اختراع ل"قلم ذكي"، يمكن أن يحل محل الهواتف الذكية التقليدية.
ووفقًا لموقع "gsmarena" فإن السمة الرئيسية للقلم هي شاشتيه، كما أنه يشتمل على اختصارات صغيرة للتطبيقات والإشعارات والوقت.

ويتسم القلم أيضًا بالمرونة، فبضغطة زر يتم سحب الشاشة بحيث يمكنك استخدامها كهاتف ذكي تقليدي عند الحاجة.

القلم يمكنه تشغيل جميع التطبيقات العادية، ويمكن حتى استخدامه للتصفح والرسائل النصية.

وبجانب الشاشات، يحمل القلم عددًا كبيرًا من أجهزة الاستشعار التي توجد عادةً في الهواتف الذكية الحديثة، مثل الدوران، والبوصلة الإلكترونية، وحتى أجهزة استشعار تتبع العين، في حين أن الميكروفون وسماعة الأذن تجعل القلم هاتفًا ذكيًا مكتملًا، كما يمكن اقترانه مع الهواتف والأجهزة الذكية عبر البلوتوث أو الـ"واي فاي".
aXA6IDIxNi43My4yMTYuMTU4IA==
جزيرة ام اند امز